
今回はタイムレンジブレイクで仕掛ける手法について、良い時間帯が見つかったのでご紹介します。
タイムレンジブレイクとは、特定の時間帯に生じた値幅をブレイクしてきたら仕掛ける非常にシンプルな手法です。
シンプル過ぎて勝てない?と思われがちですが、設定次第では大きくプラスにすることが可能です。
今回のルールでバックテストしたところ、最終的にはリスクリワード1:1で勝率64%、プロフィットファクターが1.88となりました。
完全無裁量で行える手法ですので、ぜひご覧ください。
タイムレンジブレイクとは
タイムレンジブレイクとは、特定の時間帯の値幅をレンジとして、その後にレンジの高値や安値をブレイクしたら仕掛ける手法です。

この手法では「どの時間帯をレンジにするか?」が重要になります。
とくに有名なものとしては、アジア時間をレンジとする「アジアレンジブレイク」、ロンドン時間初動をレンジとする「ロンドンオープンレンジ」などがあります。
これらについては、過去に当ブログでも検証しています。
今回は、より優位性のある時間帯を探すために、まずはMT4用のインジケーターでタイムレンジブレイクのサインと統計まで出してくれる「Timezone_Breakout_wMinute_visual_entry_tp_sl」を利用して検証しました。
このインジケーターでは指定した時間帯の値幅をブレイクしたらサインが出現し、指定した利食い・損切りターゲットに到達したポイントまでラインが引かれて損益のpips数が表示されます。

更にはチャートの右下には、これまでのサインの統計(勝率、獲得pipsなど)を表示しますので、EAを使わなくても簡単に無裁量の検証ができます。
今回のレンジ設定
インジケーターを利用してドル円で優位性の高い設定を探していたら、MT4時間(GMT⁺2/⁺3)で3時から6時の時間帯でいい結果が得られることが分かりました。

特に損切は逆方向のボックスに置いて、利食いは損切りと同じ幅にするリスクリワード1:1の設定にすると、上記のようにトータルでしっかりとプラスになります。
MT4時間で3時から6時は、日本時間で9時から12時(夏時間)となります。
あまり使用されない時間帯ではありますが、これが効果的なようです。
ということで、これからこの設定をベースにしてForex Tester Onlineで詳しく検証していきます。
検証条件について
では検証条件についてまとめます。
- 検証通貨ペア:ドル円
- 検証期間:2025年9月~2026年3月
- 使用検証ツール:Forex Tester Online
- 資金管理ルール:1万ドルスタートで1回のトレードリスクを資金の2%をとする複利方式
トレードルール
MT4時間(GMT⁺2/⁺3)の時間帯をレンジとして、それらの高値や安値をブレイクしたらエントリーする
損切はレンジの反対側に置いて、利食いはリスクリワードが1になる所に置く。
1日のトレードで、ロング、ショートそれぞれ最初にエントリー条件を満たした時だけに入る。そのため1日のエントリー回数はロングとショート1回ずつ、合計2回となる
利食いにも損切にも当たらずに推移した場合は翌日のレンジが始まる前に決済する。もしポジションを持ったのが金曜日の場合は、金曜日の相場が終わるタイミングで決済する
検証結果
では検証結果を見ていきましょう。
まずは時系列パフォーマンスです。

1万ドルでスタートして、半年間で19814.54ドルになりました。
+9814.54ドルで約2倍のパフォーマンスです。
資金の推移も多少の波はありますが、しっかりと右肩上がりで上昇しています。
全体の勝率は59%と高く、プロフィットファクターは1.44ではっきりとした優位性があることが分かります。
次はパフォーマンス分析です。

取引回数は199回ありました。
ここで気になるのがロングとショートの利益の比率です。
インジケーターの数値にもありましたが、やはりショートの結果が悪いのが気になります。
分析インサイトの結果
次に検証結果を多角的に分析してくれる分析インサイトを見てみましょう。
気になった項目を挙げていきます。

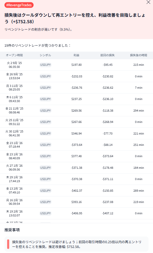
これは「リベンジトレードを避けましょう」というアドバイスです。
今回の検証は私の裁量判断は一切入っていませんが、詳しく見てみると、1日の内で、1回目のトレードで負けた後の次のトレード結果が悪いことが示されていました。
これは私自身も検証中に感じていたことで、確かにロングした後のショート、もしくはショートした後のロングは負けやすい印象があります。

トレーディングセッション分析では、ニューヨークセッションの結果が一番悪いことが分かりました(一番下)。
ニューヨークセッションは、欧州セッションと一部被りますが、欧州セッションを見るとPFが1.82と非常に良好です。この結果から、どうも欧州セッションと被らないニューヨーク時間後半が足を引っ張っているのでは?という考えが生まれました。
確かに検証中もニューヨーク後半は負けやすい記憶があります。
2回目の検証条件
1回目の検証でも十分な結果が得られましたが、FTOの分析インサイトから負けやすいエントリー条件が分かりましたので、それを考慮して再検証したいと思います。
2回目の検証条件は、1回目の検証条件に以下の2つを追加します。
- 1日1回だけのエントリー(最初に条件を満たした時だけ入る)
- ニューヨーク時間のみの時間帯だけは避ける
これでどれくらい結果が変わるかを見ていきましょう。
2回目の検証結果
まずは結論からです。
1回目と2回目の結果を比較する表を作成しましたのでご覧ください。
1回目 | 2回目 | |
利益 | +9814.54ドル | +11934.30ドル |
勝率 | 59% | 64% |
トレード回数 | 199 | 146 |
PF | 1.44 | 1.88 |
2回目の方が圧倒的に良い結果となりました。
利益、勝率、PF全てが上昇し、トレード回数は減らせました。
これはかなり改善できたと言えます。
詳しい結果を見ていきましょう。

グラフを見ると、1回目よりも波のギザギザが減って滑らかな推移になりました。
見た目にもより右肩上がりになっていることが分かります。

一番右のロングとショートの利益の比率では、1回目と比べると明らかにショートの利益の比率が大きくなっています。
今回の改善は手法全体のパフォーマンスを大きく向上できたと言っていいでしょう。
まとめ
今回はタイムレンジブレイクの中でも、MT4時間で3時から6時(日本時間9時〜12時)という特定の時間帯に着目した手法について検証しました。
結論として、この時間帯のレンジブレイクは非常に優位性が高く、シンプルなルールでも十分に利益を狙えることが分かりました。
特にリスクリワード1:1という現実的な設定でも、勝率59%、プロフィットファクター1.44という安定した結果が得られています。
さらに、
- 1日1回のみエントリー
- ニューヨーク後半を避ける
という2つの条件を加えることで、パフォーマンスは大きく改善し、勝率64%、プロフィットファクター1.88になりました。
今回の検証から分かる重要なポイントは、「時間帯を厳選すること」と「無駄なトレードを減らすこと」が、シンプルな手法でも大きな差を生むという点です。
タイムレンジブレイクは一見すると単純で再現性が低そうに感じるかもしれませんが、今回のように条件をしっかり詰めていくことで、十分に実践レベルの手法へと昇華させることができます。
完全無裁量で運用できる点も大きなメリットですので、裁量トレードに悩んでいる方や、ルールベースの手法を探している方は、一度この設定で検証してみることをおすすめします。
今回検証で利用したツールはForex Tester Onlineです。
興味のある方は以下のリンクからご覧ください。

























